您的当前位置: 首页 > 资讯中心 > 产品有道 > 正文一种无缝环件轧制成型的立式数控辗环机(碾环机、扩孔机),近日由济南泉跃数控机械有限公司开发制造成功,它是一种适合加工中小型环件的立式数控径向辗环机。其结构紧凑,性价比高、加工范围广,非常适合轧制300mm~1500mm的环件,轧制过程顺利平稳,成品环件尺寸精度高,生产能耗低。设备既适用于钢质环件的轧制生产,也适用于铝合金等特种材料环件的轧制生产,轧制过程自动控制,人工强度较低。泉跃数控公司同时申报了国家专利的保护。
在现代工业中, 无缝环件的应用非常广泛,比如轴承内外套圈、齿轮圈、管道法兰、轮毂、回转支撑、起重运输机上的旋转轮圈、压力容器的加强圈、飞机发动机的壳体与机匣等等。铝合金材料以强度高、重量轻的特点,在环件上应用也越来越广泛。但是铝合金材料锻造温度范围窄,有的材质软而粘,有的硬而脆,轧制过程不易控制,技术要求高,手动控制的辗环机对此严重不适应,要求留较大的加工余量从而造成材料浪费。
目前国内成熟的环件轧制设备,有倾斜立式径向辗环机,和卧式径-轴向辗环机。对于轧制300mm~1500mm的环件,特别是此范围的铝合金材质的环件,这两种设备都存在一定的局限性。
倾斜立式径向辗环机轧制原理如图1所示,只有一个导向辊,信号辊因结构所限偏置于左下侧,且不能实时反馈环件尺寸,轧制时的外径情况靠人工进行目测,测量不精确,手动控制操作,加工精度低,而且只适合于轧制直径1000mm以下的环件。

图1 倾斜立式辗环机工作原理示意图
卧式径-轴向辗环机因需要一套轴向轧制系统,结构复杂,造价高,占用空间大,主传动部需要安装在大地坑中,地基造价也高,而且只适合于轧制直径1500mm以上的中大型环件,轧制直径1500mm以下的环件,功耗大成本高,不经济实用。
济南泉跃数控机械有限公司的技术团队针对此类生产应用所产生的问题,与陕西腾龙锻压公司沟通,确定了供货商关系,制造了此类立式数控径向辗环机。该设备结构合理,加工范围广,PLC控制轧制过程,成品环件尺寸精度高,而且只需要一个很小的安装地坑。

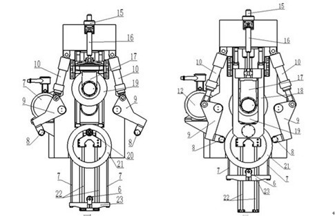
上下料时的正视图和轧制状态的正视图
两个抱辊对称布置在环件上半部、主辊两侧;与芯辊配合实现整个轧制过程的三点定圆。通过PLC控制抱辊油缸同步,保证两个抱辊对称动作。在测量油缸作用下,实时检测测量辊的位置,也就实时测量了环件的外径,实现了PLC控制的自动轧制。
测量棍在中心线上的运动保证了外径测量的时实性,有效性,准确性。相比倾斜立式径向辗环机单个导向辊和信号辊可以大大提高环件的椭圆度以及测量准确性。